不止折叠屏手机,苹果折叠相机专利曝光:支持全景图像拍摄
发布时间:2021-02-03 04:28:51 所属栏目:安卓资讯 来源:网络整理
导读:近期,网上流传着苹果正在开发折叠屏iPhone,而且会在明年推出相关产品。令人惊喜的是,根据外媒的最新消息,苹果不仅在研发折叠屏手机,他们还要打造一个支持折叠的相机系统。
|
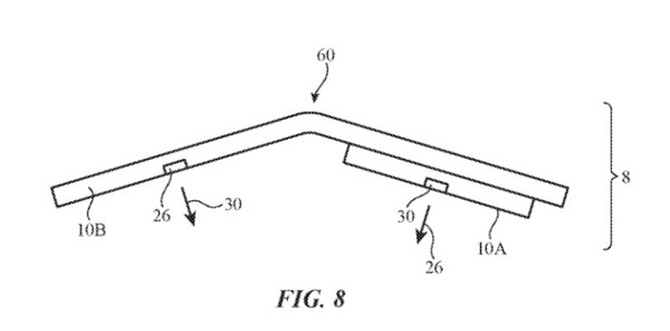
近期,网上流传着苹果正在开发折叠屏iPhone,而且会在明年推出相关产品。令人惊喜的是,根据外媒的最新消息,苹果不仅在研发折叠屏手机,他们还要打造一个支持折叠的相机系统。 根据外媒的报道,苹果已经向美国专利和商标局提交了一项名为“可弯曲电子设备相机系统”的新专利。专利显示,这是一款由柔性织物、柔性聚合物或其他柔性材料组成的柔性外壳,可以将外壳改变为不同形态,而且支持把镜头安置在外壳上。 据悉,这么设计的原因是用户可以通过弯曲外壳来调整相机的拍摄方向,以此来捕捉三维图像和全景图像。从该专利的内容来看,这个折叠相机的主要设计应该是为了优化全景图像的拍摄效果和方式。 目前能得知的信息就这么多,不过根据之前的供应链信息,富士康正在为苹果研发两种全新可折叠设备,除了折叠屏手机,令一款很有可能会应用在“折叠相机系统”上。发布时间的话,根据外媒的爆料,折叠屏iPhone手机和折叠相机很有可能都会在2022年亮相,值得期待。 (编辑:无忧刷机网 - 51刷机网) 【声明】本站内容均来自网络,其相关言论仅代表作者个人观点,不代表本站立场。若无意侵犯到您的权利,请及时与联系站长删除相关内容! |
